
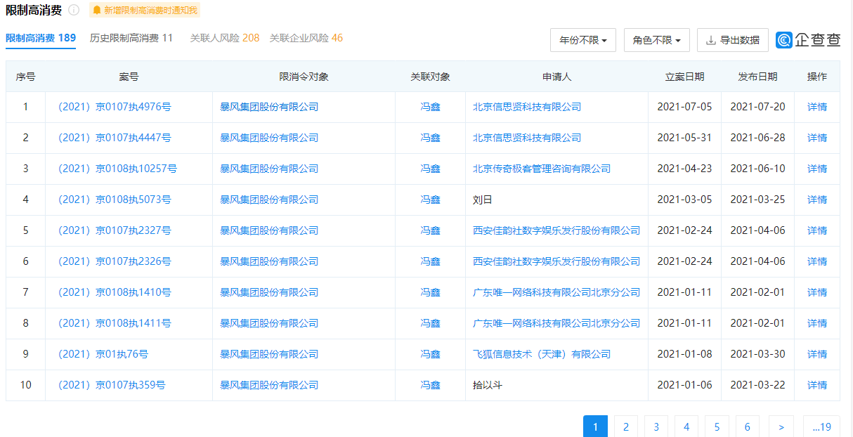
7 月 22 日消息 企查查 App 显示,7 月 20 日,暴风集团股份有限公司新增一则限制消费令,限制消费对象为该公司及其法定代表人冯鑫,相关案号为 (2021) 京 0107 执 4976 号,涉案金额 71099 元。暴风集团股份有限公司已多次被限制消费。

企查查显示,暴风集团股份有限公司成立于 2007 年 1 月,注册资本 3.24 亿元人民币,法定代表人冯鑫。经营范围包括互联网信息服务业务(除新闻、教育、医疗保健、医疗器械以外的内容);技术开发、技术服务、技术转让、技术咨询;计算机系统集成;设计、制作、代理、发布广告;组织文化艺术交流活动(演出除外)等。


IT之家 此前报道,深交所曾对暴风集团股份有限公司及相关当事人给予纪律处分,原因是未按期披露半年度报告、未按期披露季度报告。该公司于 2020 年 11 月 10 日被深圳证券交易所摘牌,正式退市。
